XE3-5000G
XE3-5000G COMMON DATA
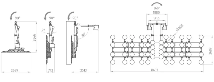
The equipment is fully modular and can be configured in various grill layouts, enabling the handling of glass with different weights and dimensions. It can handle loads of up to 5,000 kg and glass sizes up to 3.21 x 12 meters, adapting to the specific requirements of each project.
It features four safety vacuum circuits designed for the handling and installation of glass on-site, complying with the requirements established by the EN-13155 standard.
The equipment operates both on battery and mains power, excelling in its 360° continuous electric motorized rotation and hydraulic motorized tilting from 0° to 90°. These features are particularly useful for daily installation tasks on-site and in the factory, allowing for precise, safe, and quick adjustment to any necessary movement.
The equipment incorporates advanced electronic modules designed according to Industry 4.0 standards. The control module is equipped with digital vacuum level indicators, a battery level indicator, and both audible and visual alarm signals, ensuring precise and safe monitoring.
The CW3-6000 counterweight is a specifically designed accessory for the XE3 suction cup, aimed at ensuring the perpendicularity of the glass during installation. This system significantly optimizes the placement of large-format glass, improving both precision and efficiency in the process.
OPTIONAL
- MI-14A WIRELESS PUSHBUTTON CONTROLLER









